بغض النظر عن إستخدام iPad كجهاز لوحي، وهو الغرض من إنشائه في الأصل، فمنذ وقت ليس ببعيد قامت شركة آبل بتضمين ميزة جديدة في نظام MacOS تُدعى Sidecar والتي تسمح للمستخدمين في الأساس بإستخدام أجهزة iPad الخاصة بهم كشاشة ثانوية. ومع ذلك، كشفت براءة إختراع إكتشفها موقع Apple Insider أن شركة آبل قد تكون لديها خطط أخرى لجهاز iPad في المستقبل.
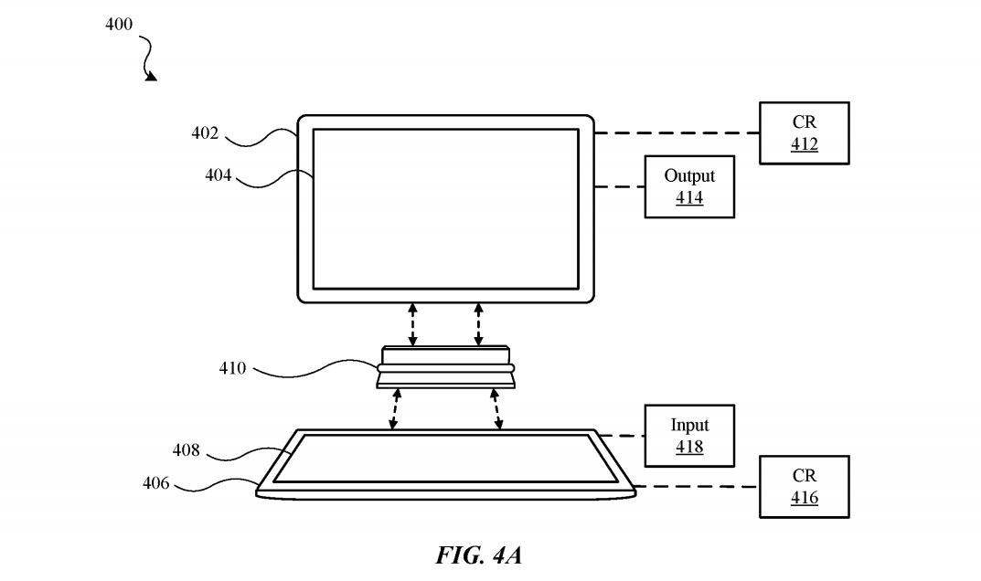
تصف براءة الإختراع طريقة يمكن من خلالها توصيل جهازي iPad ببعضهما البعض من خلال جهاز يشبه الموصل. كما ترون في الرسم البياني أدناه، سيؤدي هذا إلى تشكيل إعداد يشبه حاسوب محمول بحيث يعمل جهاز iPad الموجود في الأعلى كشاشة، بينما يمكن أن يعمل iPad أدناه كلوحة مفاتيح إفتراضية والمزيد.
يمكن إستخدامه حتى بوضعية عمودية أو أفقية، حيث يمكن إستخدامه مثل كتاب بحيث يمكنك عرض عدة أشياء على شاشة في وقت واحد، وهذا يشبه نوعًا ما هاتف ذكي بشاشة مُزدوجة. وتصف براءة الإختراع أيضًا أن الأمر لا يتطلب جهازي iPad بالضرورة، بل من الممكن في الواقع الجمع بين كل من iPad و iPhone معًا.
الأمر المثير للإهتمام حول هذا المفهوم هو أنه مفهوم تعمل عليه مايكروسوفت أيضًا نوعًا ما. يبدو أن الشركة تعتقد أن أجهزة الحوسبة المزدوجة الشاشة هي الطريق نحو المستقبل بحيث تعمل على أجهزة محمولة مُزدوجة الشاشة مثل Surface Duo و Surface Neo، وتقوم أيضًا بتطوير إصدار من نظام Windows 10 يناسب هذه الأجهزة.
ومع ذلك، لا يزال من غير الواضح ما إذا كانت شركة آبل ستقوم بتحويل براءة الإختراع هذه إلى حقيقة أم لا، لذلك لا تتحمس كثيرًا منذ الآن.
The post لدى آبل فكرة جميلة تجمع جهازي iPad معًا لتشكيل حاسوب محمول appeared first on إلكتروني.


